Pdf: Link Datablad York Se. link

Forklaring til proces. Se. Link

 

 

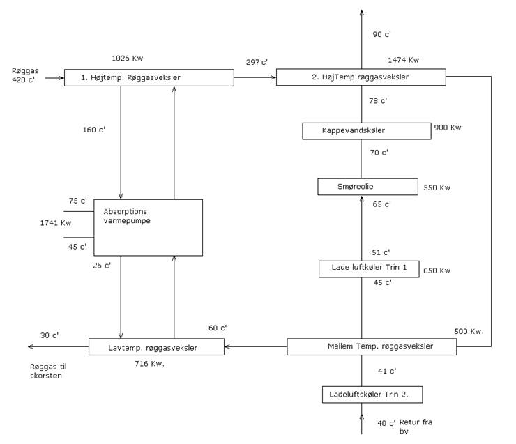
Naturgas midt-nord’s forslag til opstilling omkring fjernvarmeværkers gasmotorer.

 

Kawasaki Triple absorption